Grundschaltung: NE555 als bistabile Kippstufe

Im NE555 befindet sich ein RS-Flip-Flop, bei dem es sich um eine bistabile Kippstufe handelt. Eine bistabile Kippstufe ist im Prinzip ein 1-Bit-Speicher, der zwei stabile Zustände hat. Deshalb die Bezeichnung „bistabil“. Die beiden Zustände werden als logisch HIGH (H) und LOW (L) bezeichnet. Im dualen Zahlensystem werden sie durch 1 und 0 repräsentiert. Durch äußere Einflüsse kann zwischen den beiden Zuständen wechseln. Dafür gibt es sogenannte Setz- und Rücksetz-Eingänge am internen RS-Flip-Flop. Am NE555 existieren die Eingängen Trigger, Reset und Threshold. Der Reset-Eingang ist direkt mit dem internen RS-Flip-Flop verbunden. Trigger und Threshold haben Komparatoren vorgeschaltet.
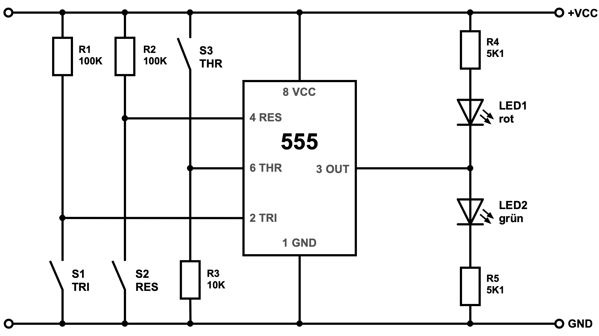
Der Zustand des internen Flip-Flops wird am Ausgang an Pin 3 durch zwei Leichtdioden angezeigt.
- Wenn die rote Leuchtdiode leuchtet, dann führt der Ausgang den Zustand LOW.
- Wenn die grüne Leuchtdiode leuchtet, dann führt der Ausgang den Zustand HIGH.
Bauteile
Liste
- IC1: Timer NE555
- R1: Metallfilm-Widerstand, 100 kOhm (Braun-Schwarz-Schwarz-Orange)
- R2: Metallfilm-Widerstand, 100 kOhm (Braun-Schwarz-Schwarz-Orange)
- R3: Metallfilm-Widerstand, 10 kOhm (Braun-Schwarz-Schwarz-Rot)
- R4: Metallfilm-Widerstand, 5,1 kOhm (Grün-Braun-Schwarz-Braun)
- R5: Metallfilm-Widerstand, 5,1 kOhm (Grün-Braun-Schwarz-Braun)
- S1: Taster
- S2: Taster
- S3: Taster
- LED1: Leuchtdiode, rot
- LED2: Leuchtdiode, grün
Kennzeichnung und Anschlussbelegung
Funktionsweise der Schaltung
Welche Bedeutung haben die Eingänge bei der bistabilen Kippstufe?
- Der Trigger-Eingang (Pin 2) ist der Setz-Eingang mit L-Potential (Verbindung nach GND).
- Der Reset-Eingang (Pin 4) ist der Rücksetz-Eingang mit L-Potential (Verbindung nach GND).
- Der Threshold-Eingang (Pin 6) ist der Rücksetz-Eingang mit H-Potential (Verbindung nach VCC).
Was passiert, wenn man die Taster betätigt?
- Das Betätigen des Tasters S1 verbindet den Trigger-Eingang (Pin 2) mit GND und setzt das Flip-Flop. Der Ausgang führt dann ein logisches HIGH, weshalb die grüne LED leuchtet. Wenn die grüne LED schon leuchtet, zum Beispiel beim Einschalten der Betriebsspannung, dann ist das betätigen des Tasters S1 wenig sinnvoll, weil das Flip-Flop schon gesetzt ist.
- Das Betätigen des Tasters S2 verbindet den Reset-Eingang (Pin 4) mit GND und setzt das Flip-Flop zurück. Der Ausgang führt dann ein logisches LOW, weshalb die rote LED leuchtet.
- Das Betätigen des Tasters S3 verbindet den Threshold-Eingang (Pin 6) mit +VCC und setzt das Flip-Flop zurück. Der Ausgang führt dann ein logisches LOW, weshalb die rote LED leuchtet.
Hinweis: Für eine bistabile Kippstufe würde es reichen, wenn man den Trigger-Eingang als Setz-Eingang und den Reset-Eingang als Rücksetz-Eingang verwendet. Den Threshold-Eingang braucht man eigentlich nicht. Er ist aber vielleicht dann interessant, wenn man das Flip-Flop mit einem High und nicht mit einem Low zurücksetzen will.
Experimente mit Trigger, Reset und Threshold
Wir wollen die Funktion des internen RS-Flip-Flops und der Eingänge Trigger, Reset und Threshold genauer betrachten.
Anwendungen der bistabilen Kippstufe
Die bistabile Kippstufe mit dem NE555 ist die Grundschaltung für Ein- und Ausschalter, für Berührungsschalter, und wenn es darum geht zwischen zwei Zuständen definiert umschalten zu können.
- LINKS
Weitere Grundschaltungen:
- Grundschaltung: NE555 als astabile Kippstufe
- Grundschaltung: NE555 als akustischer Signalgeber
- Grundschaltung: NE555 als Negator
- Grundschaltung: NE555 als Komparator
- Grundschaltung: NE555 als Schmitt-Trigger
- Grundschaltung: NE555 als monostabile Kippstufe
- Grundschaltung: NE555 als RS-Flip-Flop
Diese Schaltung selber aufbauen und experimentieren
Das Timer-IC NE555 ist ein echter Klassiker der Elektronik. Für viele ist dieses NE555 der Einstieg in die Anwendung integrierter Schaltkreise. Denn es gibt vielfältige Möglichkeiten den NE555 einzusetzen. Ob blinkende LEDs, Zeitgeber oder Signalgeneratoren.
Mit dabei ist der Elektronik-Guide Timer Edition (PDF-Datei zum Download) mit Erläuterungen zu allen Bauteilen, den theoretischen Grundlagen des Timers, Experimente mit Grundschaltungen und praxisorientierten Anwendungen. So wird dir schnell klar, wie der Timer tickt und was du alles damit machen kannst.
Mehr Informationen Elektronik-Set jetzt bestellen
Frag Elektronik-Kompendium.de
Elektronik-Set Timer Edition
Das Timer-IC NE555 ist ein echter Klassiker der Elektronik
Im Elektronik-Set Timer Edition ist das Timer-IC NE555 mit weiteren Bauteilen enthalten, mit denen du 35 Grundschaltungen, Experimente und Anwendungen realisieren kannst.
- Experimente mit den Grundschaltungen des NE555
- Funktionsweise durch spielerische und praxisorientierte Vorgehensweise
- Nachbau von Schaltungen, die wirklich funktionieren
Elektronik-Workshop: Timer 555
Grundlagen und anwendungsorientierte Timer-Schaltungen
Das Buch „Elektronik-Workshop: Timer 555“ kombiniert Grundlagenwissen mit erprobten Schaltungsbeispielen und ausgesuchten Datenblatt-Auszügen.
Was dich erwartet:
- Eine verständliche Beschreibung und Analyse des Innenlebens des 555
- Zahlreiche, praxisbewährte Anwendungen für Einsteiger und Fortgeschrittene
- Wertvolle Hinweise zur CMOS-Version
- Alternative Timer- und Taktgeber-Schaltungen
Elektronik-Fibel
Elektronik einfach und leicht verständlich
Die Elektronik-Fibel ist ein Buch über die Grundlagen der Elektronik, Bauelemente, Schaltungstechnik und Digitaltechnik.




