Experimente: Trigger und Reset vom NE555 (RS-Flip-Flop)

Der NE555 hat in seinem Inneren ein RS-Flip-Flop. Das dient dazu, Zustände zu halten. Es ist im Prinzip ein 1-Bit-Speicher. Wir wollen die Funktion dieses Flip-Flops genauer betrachten.
Es geht darum herauszufinden, wie die Eingänge Trigger und Reset funktionieren, und wie sie zusammenhängen. Ziel soll es sein, später leichter zu verstehen, was in einer Timer-Schaltung passiert.
Bauteile
Liste
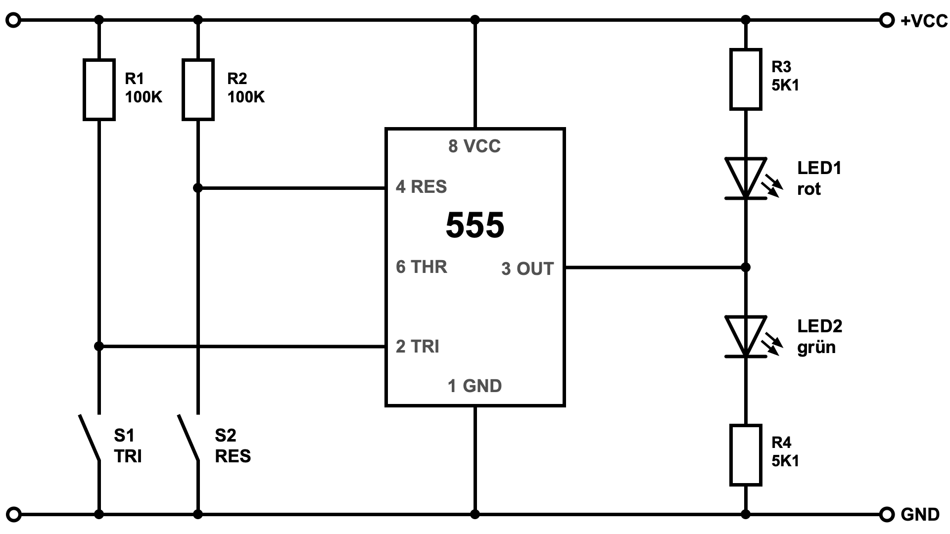
- IC1: Timer NE555
- R1: Metallfilm-Widerstand, 100 kOhm (Braun-Schwarz-Schwarz-Orange)
- R2: Metallfilm-Widerstand, 100 kOhm (Braun-Schwarz-Schwarz-Orange)
- R3: Metallfilm-Widerstand, 5,1 kOhm (Grün-Braun-Schwarz-Braun)
- R4: Metallfilm-Widerstand, 5,1 kOhm (Grün-Braun-Schwarz-Braun)
- S1: Taster
- S2: Taster
- LED1: Leuchtdiode, rot
- LED2: Leuchtdiode, grün
Kennzeichnung und Anschlussbelegung
Experimente
Wenn man diese Schaltung aufgebaut hat und durch Anlegen der Spannungsquelle in Betrieb nimmt, dann wird die grüne LED (LED2) leuchten. Aber manchmal auch die rote LED (LED1).
- Betätige den Taster S1 (Trigger).
- Betätige den Taster S2 (Reset).
- Betätige den Taster S1 (Trigger).
- Betätige den Taster S2 (Reset) und halte ihn gedrückt.
- Betätige zusätzlich den Taster S1 (Trigger) mehrmals hintereinander.
Beobachtungen
- Wenn die grüne LED leuchtet, dann ändert sich nichts. Wenn die rote LED leuchtet, dann geht diese aus und die grüne an.
- Die grüne LED geht aus und rote LED an.
- Die rote LED geht aus und grüne an.
- Die grüne LED geht aus und rote LED an.
- Es ändert sich nichts.
Erkenntnisse und Erklärungen
Welche Funktion hat der Trigger-Eingang?
Wenn der Trigger-Eingang mit GND verbunden wird, dann schaltet der Timer innen den Ausgang nach +VCC, wodurch die grüne LED leuchtet. Wenn die grüne LED schon leuchtet, dann ändert sich nichts.
Welche Funktion hat der Reset-Eingang?
Der Reset-Eingang schaltet den Ausgang um, wenn die grüne LED leuchtet und der Reset-Eingang per Taster mit GND verbunden wird. Der Ausgang schaltet dabei nach GND und die rote LED leuchtet.
Wie sein Name sagt, hat der Reset-Eingang eine Rückstellfunktion, die gegenüber dem Trigger-Eingang bevorrechtigt ist. Das heißt, der Trigger-Eingang wirkt nur dann, wenn der Reset-Eingang (Pin 4) mit +VCC verbunden ist.
Mit dem Reset-Eingang lässt sich der Timer 555 dominant zurücksetzen, wodurch der Ausgang an Pin 3 den Zustand LOW bekommt. Solange der Reset-Eingang nicht mit +VCC verbunden ist, bleibt der Ausgang auf LOW, egal, wie die anderen Eingänge belegt sind. Der Ausgang wechselt nur dann auf HIGH, wenn der Reset-Eingang mit +VCC verbunden ist und der Trigger-Eingang 1/3 von +VCC erreicht hat.
Ein unbenutzter oder inaktiver Reset-Eingang sollte nicht offen sein, sondern direkt oder über einen Widerstand an +VCC liegen. Dadurch vermeidet man eine mögliche Fehlfunktion durch äußere Einflüsse.
Weitere Experimente:
- Experimente: NE555 als astabile Kippstufe
- Experimente: Entladung (Discharge) vom NE555
- Experimente: NE555 als akustischer Signalgeber
- Experimente: Trigger, Reset und Threshold vom NE555
- Experimente: Trigger und Threshold vom NE555
- Experimente: NE555 als Schmitt-Trigger
- Experimente: NE555 als monostabile Kippstufe
- Experimente: Ausgang (Output) vom NE555
- Experimente: Steuerspannung (Control Voltage) vom NE555
Diese Schaltung selber aufbauen und experimentieren
Das Timer-IC NE555 ist ein echter Klassiker der Elektronik. Für viele ist dieses NE555 der Einstieg in die Anwendung integrierter Schaltkreise. Denn es gibt vielfältige Möglichkeiten den NE555 einzusetzen. Ob blinkende LEDs, Zeitgeber oder Signalgeneratoren.
Mit dabei ist der Elektronik-Guide Timer Edition (PDF-Datei zum Download) mit Erläuterungen zu allen Bauteilen, den theoretischen Grundlagen des Timers, Experimente mit Grundschaltungen und praxisorientierten Anwendungen. So wird dir schnell klar, wie der Timer tickt und was du alles damit machen kannst.
Mehr Informationen Elektronik-Set jetzt bestellen
Frag Elektronik-Kompendium.de
Elektronik-Set Timer Edition
Das Timer-IC NE555 ist ein echter Klassiker der Elektronik
Im Elektronik-Set Timer Edition ist das Timer-IC NE555 mit weiteren Bauteilen enthalten, mit denen du 35 Grundschaltungen, Experimente und Anwendungen realisieren kannst.
- Experimente mit den Grundschaltungen des NE555
- Funktionsweise durch spielerische und praxisorientierte Vorgehensweise
- Nachbau von Schaltungen, die wirklich funktionieren
Elektronik-Workshop: Timer 555
Grundlagen und anwendungsorientierte Timer-Schaltungen
Das Buch „Elektronik-Workshop: Timer 555“ kombiniert Grundlagenwissen mit erprobten Schaltungsbeispielen und ausgesuchten Datenblatt-Auszügen.
Was dich erwartet:
- Eine verständliche Beschreibung und Analyse des Innenlebens des 555
- Zahlreiche, praxisbewährte Anwendungen für Einsteiger und Fortgeschrittene
- Wertvolle Hinweise zur CMOS-Version
- Alternative Timer- und Taktgeber-Schaltungen
Elektronik-Fibel
Elektronik einfach und leicht verständlich
Die Elektronik-Fibel ist ein Buch über die Grundlagen der Elektronik, Bauelemente, Schaltungstechnik und Digitaltechnik.




