RS-Flip-Flop aus NICHT-UND (NAND) mit CD4093 bauen

Ein RS-Flip-Flop ist eine bistabile Kippstufe und der Grundbaustein für alle Flip-Flops in der Digitaltechnik. Ein RS-Flip-Flop kann man aus zwei NOR-Verknüpfungen oder zwei NAND-Verknüpfungen aufbauen. Hier bauen wir das RS-Flip-Flop aus zwei NAND-Verknüpfungen (NICHT-UND). Man spricht dann auch von einen NAND-Flip-Flop bzw. einem NAND-Latch.
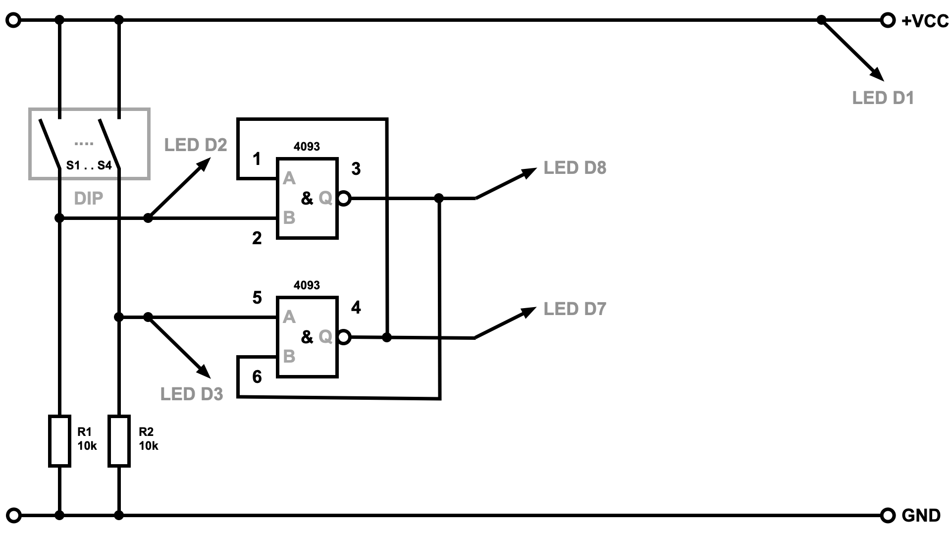
Dazu verwenden wir das CMOS-IC CD4093. Es enthält vier NAND-Gatter mit je zwei Schmitt-Trigger-Eingängen.
Die Besonderheit beim NAND-Flip-Flop ist, dass die Eingänge mit einer logischen 0 bzw. LOW, also einem L-Pegel gesteuert werden. Der Normalzustand an einem Eingang ist logisch 1 bzw. HIGH. Im Grundzustand müssen die Schalter auf ON, also oben, stehen. Bei der Inbetriebnahme der Schaltung müssen die Schalter auf ON stehen.
Wenn man die Schaltung so in Betrieb nimmt, dann werden die Leuchtdioden D1, D2 (Eingang A), D3 (Eingang B) und D7 (Ausgang Q) leuchten. Schiebt man den Schalter an Eingang A nach unten (LOW), dann geht D2 aus und das Flip-Flop wird gesetzt. Das bedeutet, der Ausgang Q wechselt auf LOW und die Leuchtdiode D7 geht aus und D8 an. Stellt man den Schalter wieder auf ON, ändern sich die Zustände an den Ausgängen mit D7 und D8 nicht! Auch dann nicht, wenn man den Schalter an Eingang A mehrmals hoch und runter schiebt.
Genau das ist die Besonderheit dieser Schaltung. Eine Änderung am Eingang ändert nicht die Zustände an den Ausgängen. Sie bleiben erhalten.
Will man die Zustände an den Ausgängen ändern, muss das Flip-Flop zurückgesetzt werden. Dazu verwenden wir den Schalter an Eingang B. Schiebt man ihn nach unten (LOW), dann wird das Flip-Flop zurückgesetzt. Das bedeutet, der Ausgang Q wechselt auf HIGH, die Leuchtdiode D7 geht an und D8 aus. Stellt man den Schalter wieder auf ON, ändern sich die Zustände an den Ausgängen nicht!
Was passiert eigentlich, wenn beide Eingänge auf LOW gesetzt werden? Das ist ein verbotener Zustand, weil die beiden Ausgänge den selben Zustand annehmen können. Das darf nicht sein.
Aufbau und Bauteile

Liste
- IC1: CMOS-IC 4093 (z. B. CD4093)
- D1...8: LED-Leiste (oder LED mit Vorwiderstand)
- S1...4: DIP-Schalter
- R1: Widerstände, 10 kOhm (4 Ringe: Braun-Schwarz-Orange-Gold)
- R2: Widerstände, 10 kOhm (4 Ringe: Braun-Schwarz-Orange-Gold)
Kennzeichnung und Anschlussbelegung
Anwendung in der Praxis
Ein RS-Flip-Flop wird häufig in Schaltkreisen zur Zustandssteuerung und Zustandshaltung eingesetzt. Es ermöglicht die Speicherung von binären Informationen und die Synchronisation von Signalen in digitalen Systemen.
Weitere Schaltungen:
- NICHT-UND (NAND) mit CD4093
- NICHT (NOT) aus NICHT-UND (NAND) mit CD4093
- UND (AND) aus NICHT-UND (NAND) mit CD4093
- Halbaddierer aus NICHT-UND (NAND) mit CD4093
Diese Schaltung selber aufbauen und experimentieren
Entdecke die Welt der digitalen Technik mit unserem Elektronik-Set Digital Edition. Es ist perfekt für Einsteiger, die ohne Vorkenntnisse in der Elektronik digitale Technik besser verstehen möchten.
Das Elektronik-Set Digital Edition enthält 15 Bauteile mit 10 unterschiedlichen elektronischen Bauelemente mit dem digitalen IC CD4093, mit denen du 15 Schaltungen aufbauen und erste Erfahrungen mit digitaler Technik und Elektronik sammeln kannst.
Frag Elektronik-Kompendium.de
Elektronik-Set Digital Edition
Entdecke die Welt der digitalen Technik
Unser Elektronik-Set Digital Edition ist perfekt für Einsteiger, die ohne Vorkenntnisse digitale Technik besser verstehen möchten.
Das Elektronik-Set Digital Edition enthält 15 Bauteile mit 10 unterschiedlichen elektronischen Bauelemente mit dem digitalen IC CD4093, mit denen du 15 Schaltungen aufbauen und erste Erfahrungen mit digitaler Technik und Elektronik sammeln kannst.
Elektronik-Set Starter Edition
Elektronik erleben mit dem Elektronik-Set Starter Edition
Perfekt für Einsteiger und Wiedereinsteiger
Elektronik-Set jetzt bestellen
Keine Lust alleine zu experimentieren?
Dann buche einen Online-Workshop Elektronik Starter zum Elektronik-Set dazu. Unsere Online-Workshops sind praxisorientiert und bietet eine grundlegende und fundierte Einarbeitung in die Elektronik.
Elektronik-Fibel
Elektronik einfach und leicht verständlich
Die Elektronik-Fibel ist ein Buch über die Grundlagen der Elektronik, Bauelemente, Schaltungstechnik und Digitaltechnik.



